
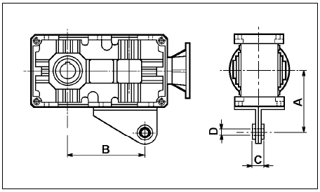
Размеры реактивной штанги |
| |
|
| |
T |
71В |
90В |
112В |
140В |
180В |
225В |
А |
123 |
145 |
180 |
214 |
270 |
340 |
В |
32 |
41 |
51 |
63.5 |
81.25 |
102 |
С |
12.5 |
11 |
15 |
15.5 |
20 |
30 |
D |
20 |
20 |
25 |
25 |
35 |
40 |
Е |
25 |
25 |
30 |
30 |
35 |
45 |
F |
70 |
77 |
92.5 |
105.5 |
130 |
180 |

| |
Т |
80C |
100C |
125C |
160C |
200C |
A |
130 |
160 |
190 |
240 |
300 |
B |
170 |
214 |
276 |
354.5 |
456.5 |
C |
25 |
30 |
30 |
35 |
45 |
D |
20 |
25 |
25 |
35 |
40 |
|
| |